<<戻る

内容抜粋

この実用新案では、炊飯システム全体について書いてありますが、「釜」の部分を抜き出します。

(19)【発行国】日本国特許庁(JP)
(12)【公報種別】実用新案登録公報(Y2)
(11)【登録番号】第2544607号
(24)【登録日】平成9年(1997)5月2日
(45)【発行日】平成9年(1997)8月20日
(54)【考案の名称】調理用加熱装置

【実施例】(抜粋)
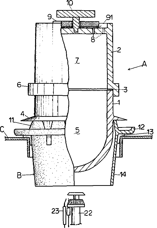
釜めし炊飯器Aは、釜1と蓋2を組合せて使用されるものでふきこぼれ防止のために、釜1と蓋2はパッキング3を挟着して密閉される構成である。
釜1は、係止縁4を有し、湾曲有底の内部空間5を形成したいわゆる伝統的形状の釜であり、実施例では1人用の大きさのものである。
蓋2は、前記釜1の開口縁に外嵌する嵌合縁6を有し、相当広い内部空間7を形成して、上面に適当数の湯気抜孔8とおもり9と把手10を設けたものである。
図示では、把手10の軸を昇降するおもり9の下面に硬質樹脂パッキング91を形成し、その範囲の蓋2上面に湯気抜孔8を形成して、圧力弁を形成したものを示している。
もとより、図中点線で示した位置に湯気抜孔を形成して圧力弁としないこともできる。釜1の内部空間5と蓋2の内部空間7の容積比は、実施例では約1;0,8の比に構成している。
数十回の炊飯テストを重ねたところ、風味あるごはんをふきこぼれなく炊くには、この容積比は、1:0,5〜1:2,0の範囲にあることが好ましい。
蓋2の内部空間7は、釜めし炊飯の際、具がその空間7内に浮遊しても蓋2を押しあげることがなく、湯気が加圧されて高い熱が動き、ふきこぼれの防止にきわめて有用である。又、まんべんなく熱がゆき渡り炊飯時間の短縮にも有効である。

このシステムで炊かれた「釜飯の味」の確認が残こる課題です

2003/08/29
暇つぶしに「真空釜飯」を検索していたら長崎県島原に真空釜飯を発見しました。
ここからどうぞ。

<その他へ戻る